imc@ipc2u.by
+375 (29) 319-52-65
+375 (17) 270-33-00
Промышленные компьютеры. Коммутаторы. Контроллеры.
Решения
Поддержка и сервис
Новости
Статьи и обзоры
О компании
Оставить заявку
Решения
Поддержка и сервис
Новости
Статьи и обзоры
О компании
imc@ipc2u.by
+375 (29) 319-52-65
+375 (17) 270-33-00
Главная
Каталог
Оборудование для АСУ ТП
Нормирующие преобразователи сигналов
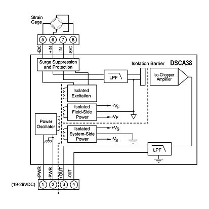
Тензодатчиков
DSCA38-20C
DSCA38-20C
Нормализатор сигналов тензодатчиков, вход 0...+33.3 мВ, выход 4...20 мА, питание датчика +3.333 В
Цена по запросу
Задать вопрос
DSCA38-20C